进入10月以来,欧洲乃至全球第二波疫情来势汹汹!法国、英国、葡萄牙、荷兰、意大利等多国告急!锁国、封城、宵禁又开始了……
外贸人要准备第二次战役了!
随着北半球气温转凉,秋冬降临,欧洲多个国家单日新增病例持续创新高。在亚洲,印度、尼泊尔等国疫情让人担忧,而美国单日新增病例则一直在高位徘徊不下。中国疾控中心原副主任杨功焕11日在接受《环球时报》记者采访时认为,综合多方面因素,新冠疫情秋冬季反弹已经开始,第二波疫情的发作已拉开序幕。
今年5月31日,复旦大学附属华山医院感染科主任张文宏在接受采访时就认为,秋冬暴发二次疫情“基本上是肯定的”。而早在3月31日,美国顶级传染病专家安东尼·福奇就表示,美国新冠疫情可能在今年秋天卷土重来。全球疫情将在秋冬开始二次暴发已成为共识。
时间进入10月份,北半球气温转凉,欧洲疫情形势日趋严峻,多个国家单日新增病例频频创下新高:
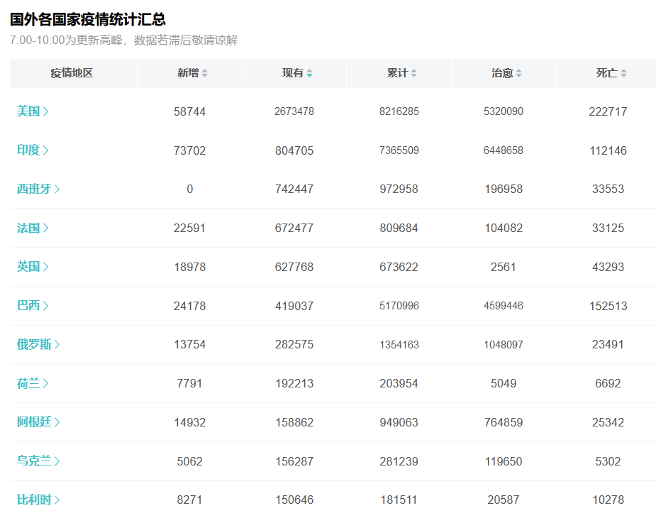
法国9日公布的数据显示,过去24小时全国新增确诊病例20339例,单日新增病例首次超过2万例,为疫情暴发以来新高。
俄罗斯媒体9日消息称,过去24小时俄新增确诊病例12126例,创疫情以来俄单日新增确诊病例最高纪录。
匈牙利、罗马尼亚、西班牙、摩洛哥、德国、加拿大、印度、尼泊尔等诸多国家都陷入了疫情重新抬头,日增病例创新高的考验中。
美国的单日新增病例虽有起伏,但一直维持在高位。
印度的单日新增病例连续多日排名第一,有专家表示,印度的抗疫体系已经面临崩盘,所以更糟糕的情况还在后面。印度有将近14亿人,且医疗卫生水平有限,很多感染者无法得到及时的治疗。很多人担心,印度一旦成为全球第一疫区,对于世界而言都将是一场灾难。



国外各国家疫情统计汇总--来自网易新闻
中国疾控中心原副主任杨功焕在接受《环球时报》记者采访时认为,随着北半球秋冬季节的到来,第二波疫情已在全球发作。“新冠病毒的活性跟季度密切相关,秋冬气温下降,病毒活性升高,造成疫情在秋冬季节的必然反复。”
鉴于今年三月份时疫情席卷全球对外贸带来的冲击和影响,我们可以想到疫情二次爆发时,外贸人将面临何种挑战。
为避免重蹈覆辙,外贸人应早做准备。
1订单成交减少
或将面临的挑战:受疫情影响,多地封城,影响人们正常消费,除了日常食品和医疗用品外,其他需求的产品几乎都会停滞。需求锐减,导致订单量减少。另一方面是因为受疫情影响,供应商无法给出准确交期,业务员无法报出准确价格,而导致订单无法继续进行。
应对之法:要有自己独立的想法,从容淡定地回应客户,保持与客户的联系,待疫情高峰过去,需求会逐渐回升。
2订单被取消
或将面临的挑战:受疫情影响,需求减少、供应交付不及时、物流费用上涨等困难会直接导致客户取消订单。
应对之法:尽可能兜住客户,不要让客户取消订单。第二次爆发肯定不会有第一次那样的慌乱,建议客户静观其变,同时我们积极处理问题和寻找最优解决方案。
3供应链断裂
或将面临的挑战:受疫情影响,资金和人员均不到位,诸多供应商没有能力正常开展生产工作,导致供应链断裂。
应对之法:积极与多家供应商联系,评估供应商抗风险的能力,及时调整供应链。
4货物交付困难
或将面临的挑战:受疫情影响,供应商供货不及时、港口暂停运作或港口检验、隔离、防疫等工作影响交货进度。
应对之法:及时调整供应链条,关注各个港口的政策变化,及时与客户沟通,让客户知晓最新情况,和客户站在同一战线,一起面对,一起解决,关于目的国港口的操作,有时候客户更清楚怎么应对,所以要跟客户一起想办法。
5物流运费飙升
或将面临的挑战:受疫情影响,航班减少,物流渠道减少,导致可用的物流渠道费用上涨。多国多地的多个港口货物堆积,仓储压力增大,导致相关费用也增加。
应对之法:建议及时更换运输方式和仓储地点,尽量争取时间,避免迟出运,同时积极关注国内港口、机场等重要交货地点的运营情况;若目的国或货物流经的第三国海关政策变动,建议及时与客户沟通协商,采取更换交货地点、直供终端、延期履约、第三方代售等方式。
6物流运输受阻
或将面临的挑战:受疫情影响,多国多地,多个港口会停止运输和通过,包括航班停运,船公司停业还有道路受阻等。还有就是由于港口码头防疫原因,工人少,交通堵塞,让我们平日正常的物流受到了阻碍。
应对之法:积极关注国内港口、机场等重要交货地点的运营情况,如果因疫情原因导致暂时封闭的,及时变更物流与仓储。特别L/C信用证交易条款下,要密切关注最迟装船日期,必要时与客户协商修改最迟装船日,预留好充足的装船期,避免交单时产生不符点。
7港口弃货,拒付尾款
或将面临的挑战:或因为客户的资金周转不灵,或因为客户的客户取消订单、或因为客户接受不了运费突然增加,或因为物流受阻错过最佳销售时间等。客户会选择弃货,并拒绝支付尾款。
应对之法:疫情爆发期间,最好收齐全款再发货,发货后付尾款的交易方式最好不做,因为大概率收不回,不是客户无赖,是大环境太糟。
8汇率大波动
或将面临的挑战:若疫情二次爆发,经济环境会有较大的波动,为了平衡经济疲软,在货币政策方面,美联储面对市场流动性紧缺很可能采取的是“无限量宽松”,这样就可能导致美元指数下跌,美元兑人民币汇率下跌,即美元贬值。美元贬值将使得外贸企业的美金结汇缩水。
应对之法:汇率是实时变动的,或高或低,但如果在疫情二次爆发的情况下,全球经济可能会更加疲软,因此可能造成美元兑人民币汇率会继续下跌。那么外贸人不得不提前为此做准备。怎么应对汇率的变动呢?请点击查看这篇文章:外贸人如何应对汇率变动,保全利润?这些方法能帮你!
9资金压力变大
或将面临的挑战:疫情之下,经济疲软,消费能力变弱,商品流转缓慢,直接造成国外客户不愿意接受全款支付或者减少定金支付,这就导致我们出口商的资金压力变大。
应对之法:特殊时期,做我们能做的,在收款方面,尽可能评估风险,不让自己陷入过分被动。